Samsung Patents New Phone with Interchangeable Lens System |
Samsung Patents Hint at an Interchangeable Lens Phone
Samsung appears to be exploring a significant leap in mobile photography with a newly uncovered patent detailing a smartphone featuring interchangeable camera lenses. The patent documents showcase a uniquely designed phone chassis. They also feature a distinct, detachable lens component. This discovery has sparked considerable excitement and speculation within the tech community.
Detachable Lenses: A New Era for Mobile Photography?
While the exact mechanism for attaching and detaching these lenses remains undisclosed in the patent, the diagrams suggest a dedicated housing on the phone body. Industry experts believe a magnetic system could offer the most user-friendly and efficient solution for securing the lenses.
Intriguingly, the patent also points towards the inclusion of a motor or actuator within the device. The purpose of this component is not explicitly stated. However, it could serve several potential applications. These include enabling precise lens focusing and facilitating optical zoom capabilities. It might also power sensor-shift image stabilization, a technology that physically moves the camera sensor to counteract hand movements and produce sharper images.
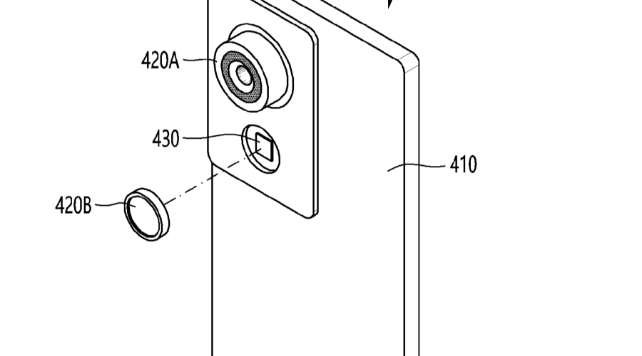
If Samsung decides to offer a system with interchangeable lens modules, several factors would be important. One of the most crucial would be a robust communication method. The lens and the phone must be able to exchange data seamlessly for the system to work effectively. This would allow the device to identify the specific lens attached and adjust camera settings accordingly.
The patent outlines several potential approaches to achieve this communication. One possibility is the integration of a simple magnet within the lens assembly, capable of conveying lens-type information to the phone. Alternatively, a Radio-Frequency Identification (RFID) chip embedded in the lens could be scanned by the phone’s antenna. Other potential solutions mentioned include the use of a reflector or resistor to transmit the necessary data.
Following the Trend: Other Manufacturers Explore Modular Lenses
This patent revelation comes at a time when other smartphone manufacturers are also experimenting with modular lens systems. The CMF Phone 2 Pro already offers users the ability to attach add-on lenses, and vivo’s latest flagship, the X200 Ultra, boasts compatibility with a substantial 13-element Zeiss telephoto add-on lens featuring an impressive 8.7x zoom. Furthermore, Xiaomi also unveiled a similar concept with an external professional-grade lens that can be magnetically attached to the Xiaomi 15.
However, the rise of sophisticated Artificial Intelligence (AI) in mobile photography is starting to challenge the need for interchangeable lens systems. AI-powered zoom technology has advanced rapidly in recent years. When combined with periscope lenses, it allows smartphones to capture images at long focal lengths. Impressively, this is done with minimal loss in image quality. Additionally, dedicated ultra-wide lenses are now standard on most flagship devices, effectively covering a broad range of shooting scenarios.
Samsung Seeks Innovation in a Competitive Market
Despite recent advancements, competitors exploring interchangeable lenses indicate a growing interest in this area. This suggests that Samsung wants to stay ahead and capture consumer attention. Galaxy flagship phones have seen only incremental camera improvements in recent years. Introducing an interchangeable lens system could bring a much-needed boost of innovation and excitement to future S-series devices.
While the patent doesn’t guarantee a final product, it undeniably signals Samsung’s active exploration of groundbreaking solutions to enhance mobile photography.



