Samsung Patents New Phone with Interchangeable Lens System |
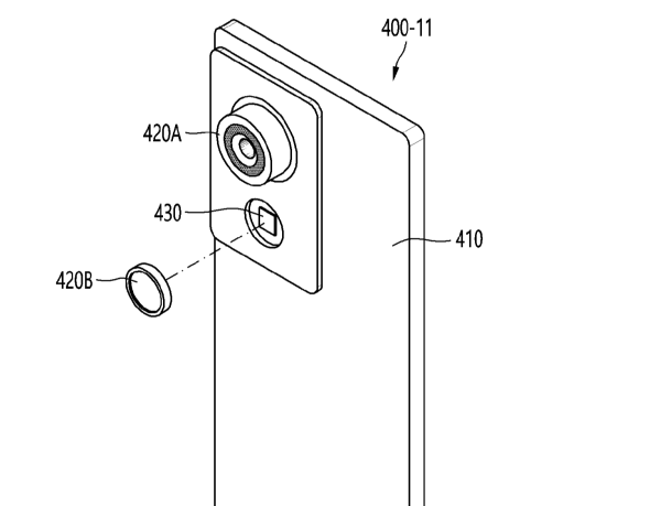
Samsung Patents Hint at an Interchangeable Lens Phone Samsung appears to be exploring a significant leap in mobile photography with
Read More
Samsung Patents Hint at an Interchangeable Lens Phone Samsung appears to be exploring a significant leap in mobile photography with
Read More